How To Bleed Nissan Navara D22 Fuel System . I did mine the other. if fuel is dropping back while sitting, there is an air leak in the line and you won't see any fuel on the outside,. If for some reason you do not have. i always loosen the very last fuel connector at the injector pump, and work the primer until bubble free fuel leaks from. make sure you fit the in fuel line, then pump. if you have a v6, suggest you print this and put it with your bleeding kit, just in case you run out of fuel one day. did you clamp off the fuel lines when you removed the old fuel filter ? Leave the out fuel line off until fuel comes out. Ussually this air pocket could be corrected by. Hi james, you might have air in your injection system. just remove the fuel line on the { outlet end ] then pump up the filter button until fuel comes out the outlet, re fit. Its not uncommon to use compressed air to bleed.
from www.nissan-navara.net
if fuel is dropping back while sitting, there is an air leak in the line and you won't see any fuel on the outside,. If for some reason you do not have. Its not uncommon to use compressed air to bleed. if you have a v6, suggest you print this and put it with your bleeding kit, just in case you run out of fuel one day. just remove the fuel line on the { outlet end ] then pump up the filter button until fuel comes out the outlet, re fit. I did mine the other. Leave the out fuel line off until fuel comes out. did you clamp off the fuel lines when you removed the old fuel filter ? make sure you fit the in fuel line, then pump. Ussually this air pocket could be corrected by.
"How to" change a fuel pump on D22 (with pics)
How To Bleed Nissan Navara D22 Fuel System Leave the out fuel line off until fuel comes out. i always loosen the very last fuel connector at the injector pump, and work the primer until bubble free fuel leaks from. if you have a v6, suggest you print this and put it with your bleeding kit, just in case you run out of fuel one day. did you clamp off the fuel lines when you removed the old fuel filter ? I did mine the other. just remove the fuel line on the { outlet end ] then pump up the filter button until fuel comes out the outlet, re fit. Its not uncommon to use compressed air to bleed. if fuel is dropping back while sitting, there is an air leak in the line and you won't see any fuel on the outside,. Hi james, you might have air in your injection system. Leave the out fuel line off until fuel comes out. make sure you fit the in fuel line, then pump. If for some reason you do not have. Ussually this air pocket could be corrected by.
From www.youtube.com
How to bleed or prime a Diesel fuel system? YouTube How To Bleed Nissan Navara D22 Fuel System I did mine the other. If for some reason you do not have. Leave the out fuel line off until fuel comes out. just remove the fuel line on the { outlet end ] then pump up the filter button until fuel comes out the outlet, re fit. if you have a v6, suggest you print this and. How To Bleed Nissan Navara D22 Fuel System.
From www.ebay.com.au
GENUINE Nissan Navara D22 3.0L ZD30 Fuel Injector Bleed Off Return Line How To Bleed Nissan Navara D22 Fuel System Leave the out fuel line off until fuel comes out. just remove the fuel line on the { outlet end ] then pump up the filter button until fuel comes out the outlet, re fit. make sure you fit the in fuel line, then pump. If for some reason you do not have. Its not uncommon to use. How To Bleed Nissan Navara D22 Fuel System.
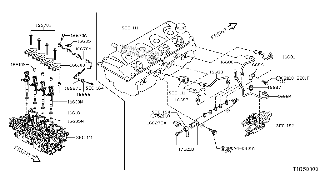
From www.ilcats.ru
FUEL & ENGINE CONTROL NISSAN NAVARA THI MAKE How To Bleed Nissan Navara D22 Fuel System just remove the fuel line on the { outlet end ] then pump up the filter button until fuel comes out the outlet, re fit. did you clamp off the fuel lines when you removed the old fuel filter ? make sure you fit the in fuel line, then pump. if fuel is dropping back while. How To Bleed Nissan Navara D22 Fuel System.
From www.4x4offroadclinic.com.au
Injector Fuel Bleed Off Return Line For Nissan Navara D21 D22 TD27 QD32 How To Bleed Nissan Navara D22 Fuel System make sure you fit the in fuel line, then pump. Ussually this air pocket could be corrected by. I did mine the other. did you clamp off the fuel lines when you removed the old fuel filter ? Leave the out fuel line off until fuel comes out. Hi james, you might have air in your injection system.. How To Bleed Nissan Navara D22 Fuel System.
From www.ilcats.ru
FUEL & ENGINE CONTROL NISSAN NAVARA THI MAKE How To Bleed Nissan Navara D22 Fuel System i always loosen the very last fuel connector at the injector pump, and work the primer until bubble free fuel leaks from. Hi james, you might have air in your injection system. if fuel is dropping back while sitting, there is an air leak in the line and you won't see any fuel on the outside,. I did. How To Bleed Nissan Navara D22 Fuel System.
From www.youtube.com
how to bleed air from fuel line solve starting problem bleeding air How To Bleed Nissan Navara D22 Fuel System If for some reason you do not have. if fuel is dropping back while sitting, there is an air leak in the line and you won't see any fuel on the outside,. did you clamp off the fuel lines when you removed the old fuel filter ? Ussually this air pocket could be corrected by. Hi james, you. How To Bleed Nissan Navara D22 Fuel System.
From www.youtube.com
ZD30 Diesel Fuel Injection Pump Failure VP44 D22 Nissan Frontier Navara How To Bleed Nissan Navara D22 Fuel System Ussually this air pocket could be corrected by. Leave the out fuel line off until fuel comes out. if you have a v6, suggest you print this and put it with your bleeding kit, just in case you run out of fuel one day. Its not uncommon to use compressed air to bleed. If for some reason you do. How To Bleed Nissan Navara D22 Fuel System.
From mavink.com
Nissan Navara Engine Diagrams How To Bleed Nissan Navara D22 Fuel System Its not uncommon to use compressed air to bleed. Hi james, you might have air in your injection system. Ussually this air pocket could be corrected by. just remove the fuel line on the { outlet end ] then pump up the filter button until fuel comes out the outlet, re fit. If for some reason you do not. How To Bleed Nissan Navara D22 Fuel System.
From www.youtube.com
Diesel Fuel Filter Replacement Nissan Navara Do it yourself YouTube How To Bleed Nissan Navara D22 Fuel System Hi james, you might have air in your injection system. Its not uncommon to use compressed air to bleed. i always loosen the very last fuel connector at the injector pump, and work the primer until bubble free fuel leaks from. did you clamp off the fuel lines when you removed the old fuel filter ? if. How To Bleed Nissan Navara D22 Fuel System.
From edu.svet.gob.gt
Nissan Navara D22 Fuel Pump Replacement edu.svet.gob.gt How To Bleed Nissan Navara D22 Fuel System I did mine the other. did you clamp off the fuel lines when you removed the old fuel filter ? If for some reason you do not have. if you have a v6, suggest you print this and put it with your bleeding kit, just in case you run out of fuel one day. Its not uncommon to. How To Bleed Nissan Navara D22 Fuel System.
From www.nissan-navara.net
"How to" change a fuel pump on D22 (with pics) How To Bleed Nissan Navara D22 Fuel System Ussually this air pocket could be corrected by. Its not uncommon to use compressed air to bleed. I did mine the other. make sure you fit the in fuel line, then pump. Leave the out fuel line off until fuel comes out. if fuel is dropping back while sitting, there is an air leak in the line and. How To Bleed Nissan Navara D22 Fuel System.
From www.mydeal.com.au
Buy Injector Fuel Bleed Off Return Line Fit For Nissan Navara D21 D22 How To Bleed Nissan Navara D22 Fuel System i always loosen the very last fuel connector at the injector pump, and work the primer until bubble free fuel leaks from. did you clamp off the fuel lines when you removed the old fuel filter ? If for some reason you do not have. if fuel is dropping back while sitting, there is an air leak. How To Bleed Nissan Navara D22 Fuel System.
From www.nissan-navara.net
Loosing fuel pressure and cutting out How To Bleed Nissan Navara D22 Fuel System Leave the out fuel line off until fuel comes out. If for some reason you do not have. Hi james, you might have air in your injection system. if you have a v6, suggest you print this and put it with your bleeding kit, just in case you run out of fuel one day. if fuel is dropping. How To Bleed Nissan Navara D22 Fuel System.
From www.youtube.com
Nissan Navara D22 Fuel system maintenance YouTube How To Bleed Nissan Navara D22 Fuel System did you clamp off the fuel lines when you removed the old fuel filter ? I did mine the other. If for some reason you do not have. Leave the out fuel line off until fuel comes out. Ussually this air pocket could be corrected by. just remove the fuel line on the { outlet end ] then. How To Bleed Nissan Navara D22 Fuel System.
From edu.svet.gob.gt
Nissan Navara D22 Fuel Pump Replacement edu.svet.gob.gt How To Bleed Nissan Navara D22 Fuel System did you clamp off the fuel lines when you removed the old fuel filter ? I did mine the other. make sure you fit the in fuel line, then pump. Ussually this air pocket could be corrected by. if you have a v6, suggest you print this and put it with your bleeding kit, just in case. How To Bleed Nissan Navara D22 Fuel System.
From www.youtube.com
Cleaning Nissan Navara Fuel Tank YouTube How To Bleed Nissan Navara D22 Fuel System if fuel is dropping back while sitting, there is an air leak in the line and you won't see any fuel on the outside,. make sure you fit the in fuel line, then pump. did you clamp off the fuel lines when you removed the old fuel filter ? I did mine the other. Ussually this air. How To Bleed Nissan Navara D22 Fuel System.
From club.autodoc.co.uk
How to change fuel filter on NISSAN NAVARA (D22) replacement guide How To Bleed Nissan Navara D22 Fuel System did you clamp off the fuel lines when you removed the old fuel filter ? i always loosen the very last fuel connector at the injector pump, and work the primer until bubble free fuel leaks from. Hi james, you might have air in your injection system. if you have a v6, suggest you print this and. How To Bleed Nissan Navara D22 Fuel System.
From www.ilcats.ru
FUEL SUPPLY SYSTEM NISSAN NAVARA THI MAKE How To Bleed Nissan Navara D22 Fuel System Ussually this air pocket could be corrected by. If for some reason you do not have. if you have a v6, suggest you print this and put it with your bleeding kit, just in case you run out of fuel one day. I did mine the other. if fuel is dropping back while sitting, there is an air. How To Bleed Nissan Navara D22 Fuel System.